Лекция 10: Многометрическая (многомерная) оптимизация. Методы многомерной оптимизации: метод Хука – Дживса, метод Нелдера – Мида, метод полного перебора, метод покоординатного спуска, метод градиентного спуска
2. Метод Нелдера – Мида.
Метод Нелдера — Мида
(называется также поиском по
деформируемому многограннику) является развитием симплексного
метода Спендли, Хекста и Химсворта. Множество (n + 1) -й равноудаленной точки в n -мерном
пространстве называется регулярным симплексом. Эта конфигурация
рассматривается в методе Спендли, Хекста и Химсворта.
Следовательно, в двумерном пространстве симплексом является
равносторонний треугольник, а в трехмерном пространстве —
правильный тетраэдр. Идея метода состоит в сравнении значений
функции в (n + 1) вершинах симплекса и перемещении
симплекса в направлении оптимальной точки с помощью итерационной
процедуры. В симплексном методе, предложенном первоначально,
регулярный симплекс использовался на каждом этапе. Нелдер и Мид
предложили несколько модификаций этого метода, допускающих,
чтобы симплексы были неправильными. В результате получился очень
надежный метод прямого поиска, являющийся одним из самых
эффективных, если
.
В методе Спендли, Хекста и Химсворта симплекс перемещается с помощью трех основных операций: отражения, растяжения и сжатия. Смысл этих операций станет понятным при рассмотрении шагов процедуры.
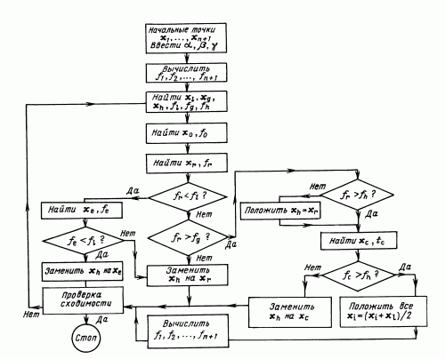
A. Найдем значения функции f1=f(x1),f2=f(x2) ... fn+1=f(хn+1) в вершинах симплекса.
Б. Найдем наибольшее значение функции fh, следующее за наибольшим значением функции fg наименьшее значение функции fl и соответствующие им точки xh, xg, xl.
B. Найдем центр тяжести всех точек, за исключением точки хh. Пусть центром тяжести будет
![]() |
( 2.1) |
Г. Удобнее всего начать перемещение от точки xh. Отразив точку xh относительно точки х0, получим точку хr и найдем f(xr) = fr. Операция отражения иллюстрируется рис.10.3. Если а > 0 - коэффициент отражения, то положение точки хr определяется следующим образом:

![]() |
( 2.2) |
Замечание: 
Д. Сравним значения функций fr и fl.
1. Если fr < fl, то мы получили наименьшее значение функции. Направление из точки x0 в точку xr наиболее удобно для перемещения. Таким образом, мы производим растяжение в этом направлении и находим точку xe и значение функции fe = f(xe). Рисунок 10.4 иллюстрирует операцию растяжения симплекса.
Коэффициент растяжения
можно найти
из следующих соотношений:

![]() |
( 2.3) |
Замечание: 
а) Если fe < fl, то заменяем точку xh на точку xe и проверяем (n + 1) -ую точку симплекса на сходимость к минимуму (см. шаг И). Если сходимость достигнута, то процесс останавливается; в противном случае возвращаемся на шаг Б.
б) Если fe > fl, то отбрасываем точку xe. Очевидно, мы переместились слишком далеко от точки x0 к точке xr. Поэтому следует заменить точку xh на точку xr, в которой было получено улучшение (шаг Д, 1), проверить сходимость и, если она не достигнута, вернуться на шаг Б.
2. Если fr > fl, но fr < fg, то xr является лучшей точкой по сравнению с другими двумя точками симплекса и мы заменяем точку xh на точку xr и, если сходимость не достигнута, возвращаемся на шаг Б, т.е. выполняем пункт 1,6, описанный выше.
3. Если fr > fl и fr > fg, перейдем на шаг Е.
Е. Сравним значения функций fr и fh.
1. Если fr > fh, то переходим непосредственно к шагу сжатия Е,2.
Если fr < fh, то заменяем точку xh на точку xr и значение функции fh на значение функции fr. Запоминаем значение fr > fg из шага Д,2, приведенного выше. Затем переходим на шаг Е,2.
2. В этом случае fr > fh, поэтому ясно, что мы переместились слишком далеко от точки xh к точке x0. Попытаемся исправить это, найдя точку xc (а затем fc ) с помощью шага сжатия, показанного на рис. 10.5. Если fr > fh, то сразу переходим к шагу сжатия и находим точку xc из соотношения

- коэффициент сжатия. Тогда![]() |
( 2.4) |

![]() |
( 2.5) |
Ж. Сравним значения функций fc и fh.
1. Если fc < fh, то заменяем точку xh на точку xc и если сходимость не достигнута, то возвращаемся на шаг Б.
2. Если fc > fh, то очевидно, что все наши попытки найти значение меньшее fh закончились неудачей, поэтому мы переходим на шаг 3.
3. На этом шаге мы уменьшаем размерность симплекса делением пополам расстояния от каждой точки симплекса до x1 - точки, определяющей наименьшее значение функции.
Таким образом, точка xj заменяется на точку xl = (xl + xi)/2, т.е. заменяем точку xi точкой (xi - xl)/2 (2.6). Затем вычисляем fi для i = 1, 2, ...,(n+1), проверяем сходимость и, если она не достигнута, возвращаемся на шаг В.
И. Проверка сходимости основана на том, чтобы стандартное отклонение (n + 1) -го значения функции было меньше некоторого заданного малого значения е. В этом случае вычисляется
![]() |
( 2.7) |
.Если
, то все значения функции
очень близки друг к другу, и поэтому они, возможно, лежат
вблизи точки минимума функции xl.
Исходя из этого, такой критерий сходимости является разумным,
хотя Бокс, Дэвис и Свенн предлагают то, что они считают
более "безопасной" проверкой.
Шаги этой процедуры представлены в виде блок-схемы на рис. 10.7.
Коэффициенты
в
вышеприведенной процедуре являются соответственно
коэффициентами отражения, сжатия и растяжения.
Нелдер и Мид рекомендуют брать
.
Рекомендация основана на результатах экспериментов с различными
комбинациями значений. Эти значения параметров позволяют методу
быть эффективным, но работать в различных сложных ситуациях.
Начальный симплекс выбирается на наше усмотрение. В данном случае точка x1 является начальной точкой, затем формируются точки
![]() |
( 2.8) |
где k - произвольная длина шага, a ej - единичный вектор.











